简要说明:
DT-SFS系列的液体流量开关用于测量流经管道的液体流动状,典型应用是使用在需要有连锁作用或“断流”保护的场所。
DT-SFS系列的液体流量开关用于测量流经管道的液体流动状态,例如:水、乙烯、乙二醇或任何对黄铜、磷青铜无腐蚀作用及未被定为危险液体的流体,其典型应用是使用在需要有连锁作用或“断流”保护的场所。其内部敏感元件选用日本欧姆龙的微动开关,大大增加了产品的可靠性和寿命。
当DT-SFS系列的流量开关被用作操作控制设备,并且该操作控制的故障会导致人员伤害或财产损失时,使用者有责任增加安全设备,以降低该操作控制的故障发生率。
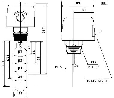
水流开关组成:管箍是我公司为方便客户拿到产品就能安装,特意选配的。
参数:
使用压力 | 10kg f/cm2(100KPa) |
最主压力 | 17.5kg f/cm2(1750KPa) |
绝缘电阻 | Over 100MΩ,DC500VM |
耐压 | AC 1500V/1minute |
触点寿命 | 1000K 次 |
波纹管寿命 | 5000K 次 |
流体温度 | Max 100℃(212°F),150℃ |
规格 | 15(1/2") 20(3/4") 25(1") NPT |
重量 | 0.7kKg |
设置方法 :
DT-SFS系列液体流量开关可安装于水平或垂直管道上,但在开关两侧必须有不少于液管道径5倍的直线长度。
1. 打开液体流量开关上盖。
2. 调高流量设定:顺时针扭动调整螺丝。
3. 调小流量设定:逆时针扭动调整螺丝
4. 离开现场前,置液体流量开关上盖于原处。


